Wenzhou Thunderseal Container Fittings Co., Ltd es uno de los fabricantes y exportadores más especializados y profesionales en el campo de Security Seals, Plastic seal, Bolt seal, Cable seal, Meter seal, Padlock seal, Metal strap seal, Barrier seal, Logistics Equipments.  
  0086-577-62026653
   info@thunderseals.net
  sales@security-seal.net
Usted está aquí: Casa » Productos » Sello de cable » Zinc Bodied Plastic EZ Loc Plus Cable Seal

categoria de producto

Add : Sulv Industrial  Area,Liushi,Yueqing,  Wenzhou,Zhejiang,China
Skype: thunderseal
Tel : 0086-577-62026653
Phone : 0086-13868424446
Fax : 0086-577-62026653

DETALLE DEL PRODUCTO

Zinc Bodied Plastic EZ Loc Plus Cable Seal

loading

Compartir con:
sharethis sharing button
1, cuerpo de zinc con inserto de bloqueo de rueda de metal
2, ISO 17712: Sello de alta seguridad 2013 y C-TPAT obediente
3, código de barras y etiqueta láser opcional
  • XGS-AL02

  • Thunderseal

  • AL02 cable seal

Clasificación del sello

Sello de alta seguridad

2.0 mm de diámetro uno, carga a la falla: > 300kgs

2,5 mm de diámetro uno, carga a la falla: > 400kgs


Material

La carcasa de la cerradura está hecha con zinc y cubierta con plástico ABS.

El cable es un cable de acero NPC galvanizado.Diámetro del alambre: 2.0mm y 2.5mmdisponible

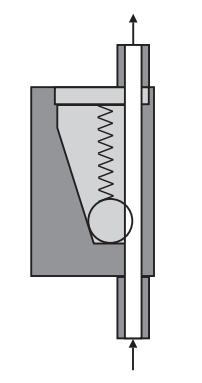
Estructura interna:Bloqueo de engranaje de acero inoxidable, no las capuchas de pelota normales.

Bloquee la estructura de la siguiente manera:

QQ 图片 20170715145538.png


Impresión

Grabado láser o Hot-stamp

Logotipo / nombre de la compañía

Numero secuencial

La decoración del código de barras también está disponible


Paquete

Para 2.5 * 300 mm uno:

100 unids por bolsa de plástico transparente

500 unids por caja

Peso neto: 14kgs

Peso bruto: 14.5kgs

Medida: 32 * 29 * 17 cm


Color pintado

Color personalizado disponible.


Dibujo de tamaño

图片 1_ 副本 .png图片 1_ 副本 .png


Anterior: 
Siguiente: 
Product Inquiry

PRODUCTOS

SITIO DE NAVEGACION

Leave a message
Deje mensaje
Leave a message

CONTÁCTENOS

   Sulv Industrial Area,Liushi,Yueqing,Wenzhou,Zhejiang,China
    thunderseal 
  0086-577-62026653
   0086-13868424446
  0086-577-62026653
    
info@thunderseals.net
Copyright    Wenzhou Thunderseal Container Fittings Co., Ltd   Todos los derechos reservados.    XML Sitemap